Iklan 300x250

44 john deere m665 parts diagram

John Deere M665 Parts. The M665 Zero Turn Lawn Tractor was produced with standard features including the two cylinder 25HP Kohler engine, hydrostatic transmission, hydraulic steering, and a 54" or 60" mower deck. Regular Maintenance should be performed on the M665 every 50 hours and should include Spark Plug, Air Filter, Oil Filter, and to ... John Deere M665 Commercial Mower Starter. New Starter - John Deere M665 Commercial Mower(with Kohler 25HP Engine)Details:12 Volt, Direct Drive.. $145.09 $148.81

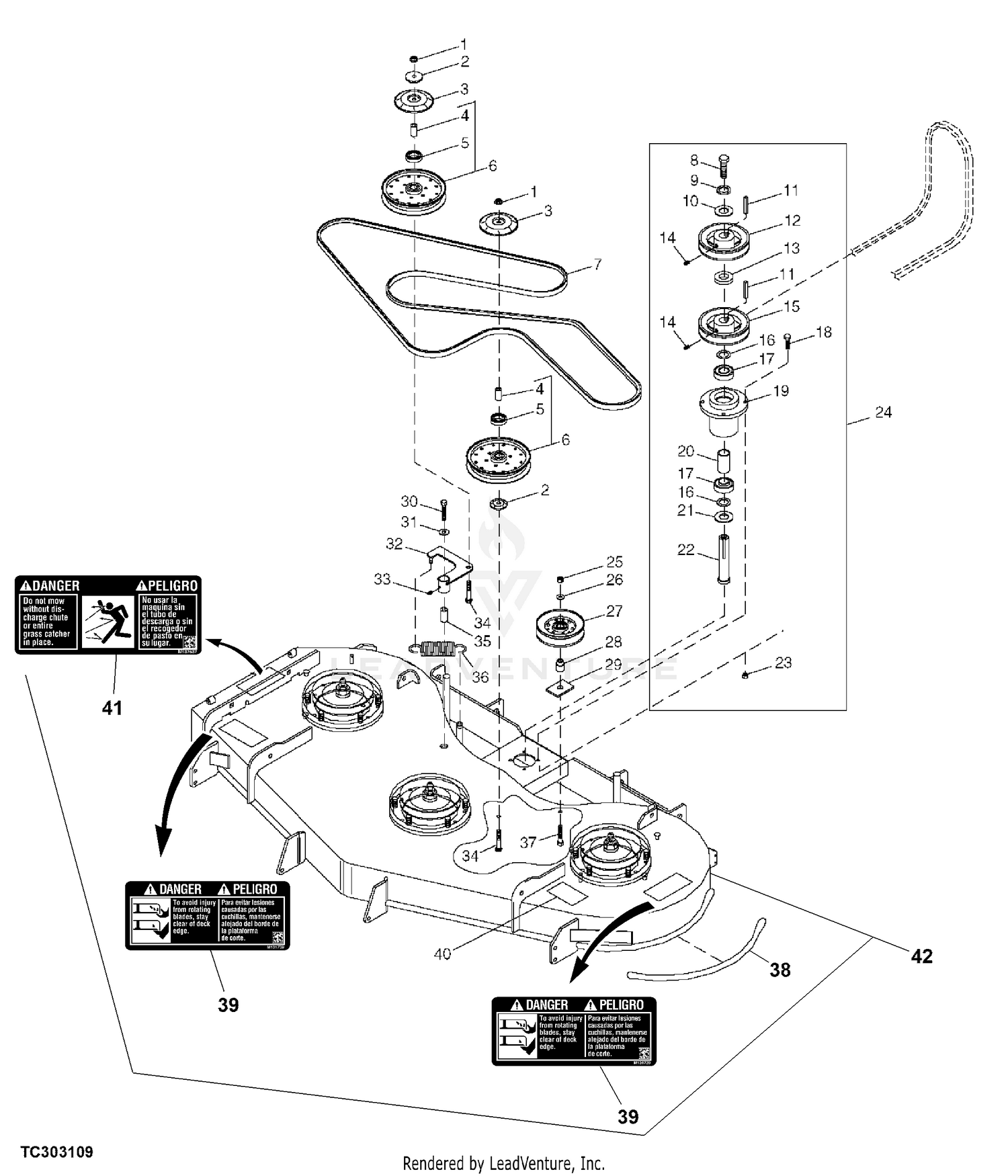
John Deere PARTS LOOKUP. M665-Mid-Mount-ZTrak-TM- Parts Diagram. M665 ZTrak 25HP AC Gas W/60" Mower Deck -PC10384 2000 Model TCM665X010001-020000 M665 ZTrak 25HP AC Gas W/60" Mower Deck -PC10384 2001 Model TCM665X020001-999999 M665 ZTrak 25HP AC Gas W/60" Mower Deck -PC10384

John deere m665 parts diagram

John deere m665 parts diagram

Due to the employee strike at John Deere, we are not receiving estimated in stock dates for all parts and equipment. John Deere PARTS LOOKUP John Deere Parts Diagrams, John Deere M665 ZTrak 25HP AC Gas W/60" Mower Deck -PC10384 2000 Model TCM665X010001-020000 M665 ZTrak 25HP AC Gas W/60" Mower Deck -PC10384 2001 Model TCM665X020001-999999 M665 ... John Deere Parts Lookup -M665 Mid Mount ZTrakâ ¢. 855-669-7278. My Store. Ann Arbor. Cedar Springs. Clarkston. Farmington Hills. Utica. Shipping & Returns. John Deere AG, Lawn & Garden and CWP Equipment Parts Search. John Deere parts lookup tool and diagram is an incredible online source. It is a complete catalog that shows you detailed parts diagrams of every part of your machine. This online parts catalog is robust and easy to use. Searching for your John Deere parts online has never been easier.

John deere m665 parts diagram. Parts Diagram. Maintenance Parts. Safety and How-To. Attachments. Understand your Warranty Terms. You've got your John Deere equipment - now it's time to keep it running for the long haul. Understand your investment protection by reviewing the John Deere warranty. John Deere Automatic 1.5-AMP Battery Charger/Maintainer - TY26328. (7) $39.66. Usually available. Add to Cart. Quick View. John Deere D120 Lawn Tractor Parts. John Deere M665 Ztrak 25hp Ac Gas W 60 Mower Deck Pc10384. Diagram Photos For John Deere 332 Fuel File Ba23685. John Deere Z535m Z Trak Mower Parts. Kohler Engine Ch730 0169 23 5 Hp Command Pro 725cc John Deere M655. John Deere Parts Diagrams John Deere M665 Ztrak 25hp Ac Gas W 60. Had a wonderful experience with this Weingartz location. Dave F was extremely helpful as is the rest of the parts counter. Great staff here. - Rob S. Due to ...

John Deere AG, Lawn & Garden and CWP Equipment Parts Search. John Deere parts lookup tool and diagram is an incredible online source. It is a complete catalog that shows you detailed parts diagrams of every part of your machine. This online parts catalog is robust and easy to use. Searching for your John Deere parts online has never been easier. John Deere Parts Lookup -M665 Mid Mount ZTrakâ ¢. 855-669-7278. My Store. Ann Arbor. Cedar Springs. Clarkston. Farmington Hills. Utica. Shipping & Returns. Due to the employee strike at John Deere, we are not receiving estimated in stock dates for all parts and equipment. John Deere PARTS LOOKUP John Deere Parts Diagrams, John Deere M665 ZTrak 25HP AC Gas W/60" Mower Deck -PC10384 2000 Model TCM665X010001-020000 M665 ZTrak 25HP AC Gas W/60" Mower Deck -PC10384 2001 Model TCM665X020001-999999 M665 ...

2

2

John Deere Z810a Z Trak Mower Parts

John Deere Z810a Z Trak Mower Parts

Lawn Mowers High Back Seat John Deere Z Trak M655 M665 717a 727a Zero Turn Mowers Ztr Ls Lawn Mower Parts Accessories

Lawn Mowers High Back Seat John Deere Z Trak M655 M665 717a 727a Zero Turn Mowers Ztr Ls Lawn Mower Parts Accessories

Omm138801 John Deere Operator S Manual For Mid Mount Ztrak M853 M655 M665 Ebay

Omm138801 John Deere Operator S Manual For Mid Mount Ztrak M853 M655 M665 Ebay

20 Most Recent John Deere D140 48 In 22 Hp Questions Answers Fixya

20 Most Recent John Deere D140 48 In 22 Hp Questions Answers Fixya

2

2

John Deere Oem Parts Tagged Z245 Aguponline

John Deere Oem Parts Tagged Z245 Aguponline

John Deere Mid Mount Ztrak M653 655 665 Tm1778 Pdf

John Deere Mid Mount Ztrak M653 655 665 Tm1778 Pdf

Rudgknznawf24m

Rudgknznawf24m

Parts Manual John Deere 219 Power Unit Pc1172 Ebay

Parts Manual John Deere 219 Power Unit Pc1172 Ebay

John Deere Tractors 6800 6900 Repair Service Manual Tm4516 A Repair Manual Store

John Deere Tractors 6800 6900 Repair Service Manual Tm4516 A Repair Manual Store

John Deere Mid Mount Ztrak M653 M655 M665 Factory Technical Manual Ebay

John Deere Mid Mount Ztrak M653 M655 M665 Factory Technical Manual Ebay

2

2

John Deere Ztrak M665 Commercial Grade Zero Turn Mower In Manhattan Ks Item 2087 Sold Purple Wave

John Deere Ztrak M665 Commercial Grade Zero Turn Mower In Manhattan Ks Item 2087 Sold Purple Wave

Ztrak Z950r Zero Turn Mower Commercial Mowers John Deere Us

Ztrak Z950r Zero Turn Mower Commercial Mowers John Deere Us

John Deere M665 Ztrak 25hp Ac Gas W 60 Mower Deck Pc10384 2000 Model Tcm665x010001 020000 M665 Ztrak 25hp Ac Gas W 60 Mower Deck Pc10384 2001 Model Tcm665x020001 999999 M665 Ztrak 25hp Ac Gas W 60

John Deere M665 Ztrak 25hp Ac Gas W 60 Mower Deck Pc10384 2000 Model Tcm665x010001 020000 M665 Ztrak 25hp Ac Gas W 60 Mower Deck Pc10384 2001 Model Tcm665x020001 999999 M665 Ztrak 25hp Ac Gas W 60

John Deere Mid Mount Ztrak M653 655 665 Tm1778 Pdf

John Deere Mid Mount Ztrak M653 655 665 Tm1778 Pdf

John Deere M653 M655 M665 Ztrak Service Manual

John Deere M653 M655 M665 Ztrak Service Manual

2

2

Chrysler 410 5409 Oil Filter Fra 7 41

Chrysler 410 5409 Oil Filter Fra 7 41

Used John Deere 60 In Zero Turn Ztrak Riding Lawn Mower M665 Ronmowers

Used John Deere 60 In Zero Turn Ztrak Riding Lawn Mower M665 Ronmowers

John Deere Ztrak M665 Commercial Grade Zero Turn Mower In Manhattan Ks Item 2087 Sold Purple Wave

John Deere Ztrak M665 Commercial Grade Zero Turn Mower In Manhattan Ks Item 2087 Sold Purple Wave

John Deere M665 Engine Cheap Online

John Deere M665 Engine Cheap Online

John Deere M665 Ztrak 25hp Ac Gas W 60 Mower Deck Pc10384 2000 Model Tcm665x010001 020000 M665 Ztrak 25hp Ac Gas W 60 Mower Deck Pc10384 2001 Model Tcm665x020001 999999 M665 Ztrak 25hp Ac Gas W 60

John Deere M665 Ztrak 25hp Ac Gas W 60 Mower Deck Pc10384 2000 Model Tcm665x010001 020000 M665 Ztrak 25hp Ac Gas W 60 Mower Deck Pc10384 2001 Model Tcm665x020001 999999 M665 Ztrak 25hp Ac Gas W 60

John Deere Mid Mount Z Trak M665 Mower Service Repair Manual Tm1778 By F7lpoops90f Issuu

John Deere Mid Mount Z Trak M665 Mower Service Repair Manual Tm1778 By F7lpoops90f Issuu

John Deere M665 Ztrak 25hp Ac Gas W 60 Mower Deck Pc10384 2000 Model Tcm665x010001 020000 M665 Ztrak 25hp Ac Gas W 60 Mower Deck Pc10384 2001 Model Tcm665x020001 999999 M665 Ztrak 25hp Ac Gas W 60

John Deere M665 Ztrak 25hp Ac Gas W 60 Mower Deck Pc10384 2000 Model Tcm665x010001 020000 M665 Ztrak 25hp Ac Gas W 60 Mower Deck Pc10384 2001 Model Tcm665x020001 999999 M665 Ztrak 25hp Ac Gas W 60

2

2

Ignition Switch For Lawn Mowers Zero Turns And Gators Electrical Replacement Parts Genuine Parts John Deere Products Johndeerestore

Ignition Switch For Lawn Mowers Zero Turns And Gators Electrical Replacement Parts Genuine Parts John Deere Products Johndeerestore

Ordering Parts For 60 Deck Spindle Rebuild My Tractor Forum

Ordering Parts For 60 Deck Spindle Rebuild My Tractor Forum

Solved I Have A John Deere M655 The Parking Break Wiring Fixya

Solved I Have A John Deere M655 The Parking Break Wiring Fixya

John Deere Seat Tca10005 Green Farm Parts

John Deere Seat Tca10005 Green Farm Parts

John Deere Z800a Series 60 Mower Deck Parts Diagram

John Deere Z800a Series 60 Mower Deck Parts Diagram

John Deere Parts Manager Pro V6 5 5 Epc John Deere All Models Cf A The Best Manuals Online

John Deere Parts Manager Pro V6 5 5 Epc John Deere All Models Cf A The Best Manuals Online

John Deere M653 M655 M665 Ztrak Service Manual

John Deere M653 M655 M665 Ztrak Service Manual

1

1

Zero Turn Lawn Mowers Outdoor Power Auction Results In Tyler Minnesota 216 Listings Treetrader Com

Zero Turn Lawn Mowers Outdoor Power Auction Results In Tyler Minnesota 216 Listings Treetrader Com

Drill Cordless Drills Home Garden Hammer Drill Tool Kit Battery Charger Ryobi 18 Volt One Cordless 1 2 In

Drill Cordless Drills Home Garden Hammer Drill Tool Kit Battery Charger Ryobi 18 Volt One Cordless 1 2 In

How To Change Pto Belt On John Deere 757 7 Iron Deck With Product Link Youtube

How To Change Pto Belt On John Deere 757 7 Iron Deck With Product Link Youtube

Amazon Com John Deere Original Equipment Belt Tcu10005 Patio Lawn Garden

Amazon Com John Deere Original Equipment Belt Tcu10005 Patio Lawn Garden

Used John Deere 60 In Zero Turn Ztrak Riding Lawn Mower M665 Ronmowers

Used John Deere 60 In Zero Turn Ztrak Riding Lawn Mower M665 Ronmowers

John Deere Mid Mount Ztrak M653 M655 M665 Technical Manual Tm1778 Service Manual Download

John Deere Mid Mount Ztrak M653 M655 M665 Technical Manual Tm1778 Service Manual Download

John Deere Parts Manager Pro V6 5 5 Epc John Deere All Models Cf A The Best Manuals Online

John Deere Parts Manager Pro V6 5 5 Epc John Deere All Models Cf A The Best Manuals Online

Z665 60 In High Capacity Mower Deck

Z665 60 In High Capacity Mower Deck

John Deere M665 Ztrak 25hp Ac Gas W 60 Mower Deck Pc10384 2000 Model Tcm665x010001 020000 M665 Ztrak 25hp Ac Gas W 60 Mower Deck Pc10384 2001 Model Tcm665x020001 999999 M665 Ztrak 25hp Ac Gas W 60

John Deere M665 Ztrak 25hp Ac Gas W 60 Mower Deck Pc10384 2000 Model Tcm665x010001 020000 M665 Ztrak 25hp Ac Gas W 60 Mower Deck Pc10384 2001 Model Tcm665x020001 999999 M665 Ztrak 25hp Ac Gas W 60

0 Response to "44 john deere m665 parts diagram"

Post a Comment

Iklan Atas Artikel

Iklan Tengah Artikel 1

Iklan Tengah Artikel 2

Iklan Bawah Artikel